cowboysew

Вырубной пресс ручной, вырубщик CowBoy 8360

Вырубной пресс ручной (вырубщик) используется для вырубки (высечки, раскроя) деталей из разных материалов (натуральная кожа, растительная кожа, ткани, чепрак, картоны, магнитного винила, резины, войлока, пленки и т.д) при помощи резаков. Вырубной пресс ручной (вырубщик) позволяет получить детали нужной формы в кратчайшие сроки и с высочайшей точностью. Вырубной пресс ручной (вырубщик) может быть использован в различного рода помещениях (как производственных так и жилых), он отличается своей компактностью и относительно не большим весом.

Вырубной пресс ручной, вырубщик (характеристики)

Этот поворотный пресс выполняет такие же функции, как и гидравлические обувные пресса Атом, ПВГ, ПКП и т.д. Основной особенностью, отличающей это пресс от вех представленных на рынке механических прессов, является то, что это именно поворотный пресс.

Характеристики механического пресса.

Габариты, 29*32*31 см (без ручки)
Вес, 50 кг
Верхняя плита, 20*20 см
Нижняя площадка, 29*22 см
Ударная усилие, 2 тонн/см.кв
Ход ударника, 22 мм


Интерес к данному механическому прессу наверняка возникнет у людей, занимающихся обработкой кожи и работой с кожей. Этот обувной пресс будет интересен специалистам в обувной, галантерейной, швейной, полиграфической и других сферах промышленности.

В комплексе с другими приспособлениями для обработки кожи и работы с кожами, поворотный пресс обеспечит идеальное качество продукции.

В итоге используя поворотный пресс вы снизить издержки производства, увеличите производительность труда, что непременно приведет к увеличению прибыли.

Работа на данном механическом прессе достаточно проста и не требует участия высококвалифицированного специалиста. Для работы не обязательно участие физически подготовленного оператора, так как не требуется больших усилий в работе. Существенным моментом является и тот факт, что оператор при работе не подвергается вредным воздействиям, так как ручной механический пресс не привязан к электросети в отличии от промышленно оборудования.

Вырубной пресс ручной, вырубщик (инструкция)

Транспортировка

Транспортировка вырубного штампа должна осуществляться на поддоне препятствующему внешним воздействиям. Установка

Вырубной штамп должен крепиться на жесткой поверхности препятствующей его смещению во время работы (предпочтительно пол или жесткий стол). Для жесткого крепления в станине предусмотрены 4 отверстия под крепежи.

Разборка и сборка

Вырубной штамп поставляется в собранном виде. Однако при погрузочно - разгрузочных работах, к центральному валу могли прилипнуть песчинки, металлическая стружка и т.д. что в последствии может привести к заклиниванию ударника пресса. Поэтому необходимо снять верхний узел, открутив фиксирующую гайку вала, затем идеально очистить центральный вал и внутреннюю часть ударника, которая соприкасается с валом, затем после тщательной смазки всех ходовых частей, Вырубной штамп нужно снова собрать и зафиксировать верхней гайкой (гайка не должна быть глуха затянута, так как это будет препятствовать вращению верхнего узла вокруг оси. Так же необходимо проверить фиксирующие гайки на эксцентрике и втулке, их нужно затянуть, но также без усилия, так как это будет препятствовать опусканию и поднятию ударника. Ручку крепим к эксцентрику таким образом, чтобы одновременно в нижнем положении находилась и ручка, и ударник. Перед использованием пресс необходимо смазать машинным маслом через два отверстия одно из которых с обратной стороны ударника, второе, в верхней части головы ударника.

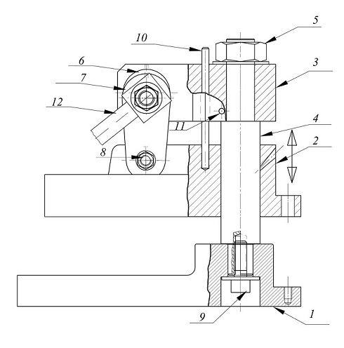
1. Станина
2. Ударник
3. Голова ударника
4. Основной вал
5. Фиксирующая гайка
6. Эксцентрик
7. Серьга
8. Втулка
9. Стопорный болт вала
10. Ограничитель хода
11. Держатель возвратной пружины
12. Ручка пресса
13. Использование высечного пресса

Для работы на данном оборудовании для вырубки обязательным условием является наличие резаков (высотой от 19 до 25 мм) и вырубной плиты (или комплекса из нескольких плит, что бы выдержать нужную толщину). Установив высечной пресс на поверхности и зафиксировав его. Подбираем толщину нижних плит таким образом, чтобы, опуская ручку чувствовалось что резак упирается в нижнюю плиту. Затем необходимо сделать пробный раскрой материала в разных положениях резака и с разных сторон вырубной плиты. Если резак прорубает материал не равномерно (в каких-то местах вырубаемой детали недорубы, то есть не полностью прорезан материал), значит расстояние между плитами и ударником не везде одинаковое. Это может быть связано с допустимыми погрешностями при фрезерных работах в производстве станка, или не параллельностью плиты во всех ее точках. Что бы избежать и предотвратить недорубы плиту в этих местах необходимо приподнять, подкладывая под нее какие-то не тонкие пластины или тому подобное (листовой картон, плотная бумага и т.д.) Погрешность в расстоянии между ударником и плитой не должна превышать 0,5 мм.

Добившись идеальной параллельности можно перейти к работе на данном оборудовании для вырубки.

В некоторых случаях необходимо ограничить ход ударника высечного пресса для этого на прессе предусмотрен ограничитель хода. На ограничителе установлена гайка путем поднимания и опускания которой мы ограничиваем опускание ударника.

Приподняв рычаг вверх на 90-120 градусов из нижнего положения, отворачиваем голову в сторону для удобства укладывания материала на плиту. После того как материал выложен устанавливаем резак на материале обходя все пороки и неровности на нем или устанавливаем точно в размер, отмеченный на материале. Поворачивая голову вырубного штампа в исходное положение нужно стараться попасть на резак таким образом, чтобы визуальный центр резака совпадал с центром верхней ударной плиты, так же желательно размещать резак ближе к основному валу.

Опускаем ручку до упора в нижнее положение, максимально нажимая на конец рукоятки. Затем ослабляем давление, поднимаем рычаг и отворачиваем ударник в боковое положение.

Вынимаем изделие из резака и повторяем данную процедуру.

8360 Пресс вырубной для высечки, вырубки и тиснения, ручной. Пресс вырубной для высечки и холодного тиснения ручной, настольного или напольного монтажа, предназначен для высекания деталей в листовых материалах - кожа, пластик, резина, картон, бумага и т.п. оказываемое усилие 5-6 тонн.








Copyright 2006© cowboysew.com. Все права защищены..